SK2b - Lautstärke Regelung
-
Hannes Pahl
- Mitglied

- Beiträge: 36
- Registriert: 26.12.2016, 17:13
SK2b - Lautstärke Regelung
Hallo,
Ich habe bei meinem Braun SK2b folgendes Problem und erhoffe mir von euch Hinweise zur Lösung.
Schon seitdem das Gerät in meinem Besitz ist, kam es hin und wieder vor, dass die Lautstärke nach dem Aufwärmen auch beim unteren Anschlag des Reglers sehr laut wurde. Das hatte sich dann meistens beim nächsten Einschalten wieder erledigt. Mittlerweile ist es jedoch dauerhaft so, dass die Lautstärke deutlich über einer angenehmen Zimmerlautstärke liegt und ich nicht weiter nach unten regeln kann.
Ich wäre über jeden Tip sehr dankbar!
Beste Grüße
Hannes
Ich habe bei meinem Braun SK2b folgendes Problem und erhoffe mir von euch Hinweise zur Lösung.
Schon seitdem das Gerät in meinem Besitz ist, kam es hin und wieder vor, dass die Lautstärke nach dem Aufwärmen auch beim unteren Anschlag des Reglers sehr laut wurde. Das hatte sich dann meistens beim nächsten Einschalten wieder erledigt. Mittlerweile ist es jedoch dauerhaft so, dass die Lautstärke deutlich über einer angenehmen Zimmerlautstärke liegt und ich nicht weiter nach unten regeln kann.
Ich wäre über jeden Tip sehr dankbar!
Beste Grüße
Hannes
- Rainer Hebermehl
- Lautsprecher-Profi

- Beiträge: 1236
- Registriert: 29.06.2009, 13:55
- Wohnort: Ronneburg
Re: SK2b - Lautstärke Regelung
Hallo Hannes,
überprüfe mal das Lautstärkepoti. Es sollte 1 M Ohm haben. Möglicherweise gibt es da ein Problem am " kalten " Ende ( Masse ).
Die Schleiferbahn des Reglers könnte gebrochen oder unterbrochen sein.
Gruß
Rainer
überprüfe mal das Lautstärkepoti. Es sollte 1 M Ohm haben. Möglicherweise gibt es da ein Problem am " kalten " Ende ( Masse ).
Die Schleiferbahn des Reglers könnte gebrochen oder unterbrochen sein.
Gruß
Rainer
Aus dem Radio steigt der Rauch - Soll er auch.
-
Hannes Pahl
- Mitglied

- Beiträge: 36
- Registriert: 26.12.2016, 17:13
Re: SK2b - Lautstärke Regelung
Hallo Rainer,
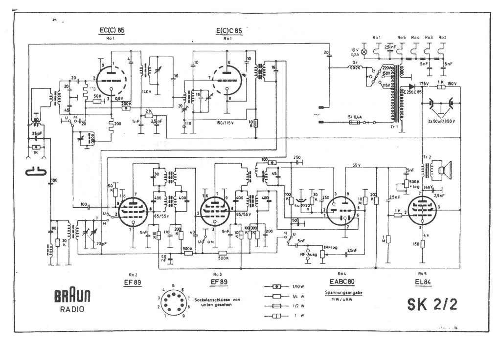
vielen Dank für deine Schnelle Antwort. Leider bin ich bezüglich Elektrotechnik ziemlich planlos. Kannst du mir anhand der Skizze unten vielleicht sagen, wo genau ich messen muss?
Falls die Schleifbahn tatsächlich gebrochen ist, gibt es dann passenden Ersatz?
Besten Dank und einen schönen Abend


vielen Dank für deine Schnelle Antwort. Leider bin ich bezüglich Elektrotechnik ziemlich planlos. Kannst du mir anhand der Skizze unten vielleicht sagen, wo genau ich messen muss?
Falls die Schleifbahn tatsächlich gebrochen ist, gibt es dann passenden Ersatz?
Besten Dank und einen schönen Abend


- Rainer Hebermehl
- Lautsprecher-Profi

- Beiträge: 1236
- Registriert: 29.06.2009, 13:55
- Wohnort: Ronneburg
Re: SK2b - Lautstärke Regelung
Dies müßte , könnte, sollte dir weiterhelfen.
Aus dem Radio steigt der Rauch - Soll er auch.
-
Hannes Pahl
- Mitglied

- Beiträge: 36
- Registriert: 26.12.2016, 17:13
Re: SK2b - Lautstärke Regelung
Vielen Dank für deine Hilfestellung.
Mein Multimeter ist nicht sehr gut oder einfach im Umgang, aber ich habe jetzt folgende Werte gemessen:
Masse (B) - Abgriff (C)
6 Ω - Ausgeschaltet
0,3 Ω - Min. Lautstärke
130 Ω - Ca. mittlere Lautstärke
10.400 Ω - Max. Lautstärke
Einspeisung (D) - Abgriff (C)
10.400 Ω - Ausgeschaltet
10.400 Ω - Min. Lautstärke
140 Ω - Max. Lautstärke
Masse (B) - Einspeisung (D)
10.300 Ω - Ausgeschaltet
10.300 Ω - Min. Lautstärke
9.900 Ω - Kurz vor max. Lautstärke
10.300 Ω - Max. Lautstärke
Habe ich da nun die Einheiten meines Multimeters durcheinander bekommen oder kann das so prinzipiell stimmen?
Es tut mir leid, ich bin wirklich nicht sehr versiert in dieser Hinsicht.
Mein Multimeter ist nicht sehr gut oder einfach im Umgang, aber ich habe jetzt folgende Werte gemessen:
Masse (B) - Abgriff (C)
6 Ω - Ausgeschaltet
0,3 Ω - Min. Lautstärke
130 Ω - Ca. mittlere Lautstärke
10.400 Ω - Max. Lautstärke
Einspeisung (D) - Abgriff (C)
10.400 Ω - Ausgeschaltet
10.400 Ω - Min. Lautstärke
140 Ω - Max. Lautstärke
Masse (B) - Einspeisung (D)
10.300 Ω - Ausgeschaltet
10.300 Ω - Min. Lautstärke
9.900 Ω - Kurz vor max. Lautstärke
10.300 Ω - Max. Lautstärke
Habe ich da nun die Einheiten meines Multimeters durcheinander bekommen oder kann das so prinzipiell stimmen?
Es tut mir leid, ich bin wirklich nicht sehr versiert in dieser Hinsicht.
-
Hannes Pahl
- Mitglied

- Beiträge: 36
- Registriert: 26.12.2016, 17:13
Re: SK2b - Lautstärke Regelung
Nachtrag:
Nach dem teste des Potis habe ich das gute Stück noch einmal angeworfen und nun scheint sich die Lautstärke wieder vernünftig regeln zu lassen.
Was kann das sein?
Nach dem teste des Potis habe ich das gute Stück noch einmal angeworfen und nun scheint sich die Lautstärke wieder vernünftig regeln zu lassen.
Was kann das sein?
-
Hannes Pahl
- Mitglied

- Beiträge: 36
- Registriert: 26.12.2016, 17:13
Re: SK2b - Lautstärke Regelung
Hallo,
Ich muss dieses Thema noch einmal ausgraben. Leider hat das Potimeter heute komplett den Geist aufgegeben.
Kann mir jemand helfen und mir sagen, welche Werte bei einem Ersatz relevant sind?
Vielen Dank!
Hannes
Ich muss dieses Thema noch einmal ausgraben. Leider hat das Potimeter heute komplett den Geist aufgegeben.
Kann mir jemand helfen und mir sagen, welche Werte bei einem Ersatz relevant sind?
Vielen Dank!
Hannes
- Paparierer
- Moderator

- Beiträge: 2797
- Registriert: 28.12.2010, 15:36
- Wohnort: 85077 Manching
Re: SK2b - Lautstärke Regelung
Hallo Hannes,
die wesentlichen Daten hat Rainer in seinem zweiten Satz angegeben:
Mit diesen Angaben solltest Du bei einem der einschlägigen Versender resp. online-Gemischtwarenladen oder Auktionsplattformen ("C", "P", "R", "A", "e") fündig werden.
Viel Erfolg!
Gruß, Gereon
die wesentlichen Daten hat Rainer in seinem zweiten Satz angegeben:
Und im Schaltplan kann man erkennen, dass es logarithmisch und nicht linear regeln soll: "1M log".Rainer Hebermehl hat geschrieben: Hallo Hannes,
überprüfe mal das Lautstärkepoti. Es sollte 1 M Ohm haben. [...]
Gruß
Rainer
Mit diesen Angaben solltest Du bei einem der einschlägigen Versender resp. online-Gemischtwarenladen oder Auktionsplattformen ("C", "P", "R", "A", "e") fündig werden.
Viel Erfolg!
Gruß, Gereon
_______________________________
meistens ist es was mechanisches...
_______________________________
„Audiophile verwenden ihre Geräte nicht, um Ihre Musik zu hören.
Audiophile verwenden Ihre Musik, um ihre Geräte zu hören.“
Alan Parsons
meistens ist es was mechanisches...
_______________________________
„Audiophile verwenden ihre Geräte nicht, um Ihre Musik zu hören.
Audiophile verwenden Ihre Musik, um ihre Geräte zu hören.“
Alan Parsons
Re: SK2b - Lautstärke Regelung
meine irgendwo aufgeschnappt zu haben dass es mit passenden zudem noch mit schalter versehenen potis nicht wirklich prickelnd aussieht.
zudem ist das auf dem bild auch noch ein sogenannter "teerie" / kondensator zu sehen.
ich vermute mal das hier noch keine kondensatoren geprüft/gewechselt wurden und in der alten hülle getarnt wurden.
da würde ich eher mal nach den kondensatoren sehen und je nach verbauter sorte auch nach den widerständen, ich meine es wäre ne serie von vitrohm gewesen, die da gerne mal aus dem ruder läuft.
zudem ist das auf dem bild auch noch ein sogenannter "teerie" / kondensator zu sehen.
ich vermute mal das hier noch keine kondensatoren geprüft/gewechselt wurden und in der alten hülle getarnt wurden.
da würde ich eher mal nach den kondensatoren sehen und je nach verbauter sorte auch nach den widerständen, ich meine es wäre ne serie von vitrohm gewesen, die da gerne mal aus dem ruder läuft.
frei nach k. ebstein: im leben geht manchmal was daneben.
Re: SK2b - Lautstärke Regelung
Hallo Hannes,
bei den alten Potis sind die Anschlüsse mit Hohlnieten an der Kohleschleifbahn befestigt. Der Nietrand bricht durch Materialermüdung ab und dann gibt es keinen sicheren Kontakt zur Schleifbahn mehr. Daher wahrscheinlich die Selbstheilung, als Du an den Anschlüssen gemessen hast. Manche Potis kann man öffnen (Niete aufbohren) und nachnieten. Aber dadurch, das auch noch ein Schalter mit im Gehäuse untergebracht ist, könnte das beim SK2b schwierig sein. Als Ersatzteil auf jeden Fall schwer zu finden, da hat Buggy recht.
Herzliche Grüße
Gerhard
bei den alten Potis sind die Anschlüsse mit Hohlnieten an der Kohleschleifbahn befestigt. Der Nietrand bricht durch Materialermüdung ab und dann gibt es keinen sicheren Kontakt zur Schleifbahn mehr. Daher wahrscheinlich die Selbstheilung, als Du an den Anschlüssen gemessen hast. Manche Potis kann man öffnen (Niete aufbohren) und nachnieten. Aber dadurch, das auch noch ein Schalter mit im Gehäuse untergebracht ist, könnte das beim SK2b schwierig sein. Als Ersatzteil auf jeden Fall schwer zu finden, da hat Buggy recht.
Herzliche Grüße
Gerhard
- Rainer Hebermehl
- Lautsprecher-Profi

- Beiträge: 1236
- Registriert: 29.06.2009, 13:55
- Wohnort: Ronneburg
Re: SK2b - Lautstärke Regelung
Auch von mir nochmal aufgegriffen.
Vielleicht habe ich es auch überlesen. Hast du ' mal gemessen, ob an dem Poti eine Spannung anliegt ?
Das " kalte Ende " liegt ja auf Masse und vor dem Eingang ist ein 5 nF Kondensator, auch der Abgriff ist abgeblockt. Also dürftest du an KEINEM Anschluß eine Gleichspannung messen . Auf der anderen Seite des 5 nF liegt die Anodenspannung an.
Potis können dann sterben, wenn der Kondensator zum Eingang defekt ist, dann werden sie regelrecht verbraten.
Nur Mut, bei diesen alten Potis gab es allenfalls Probleme mit dem Netzschalter.
Rainer
Vielleicht habe ich es auch überlesen. Hast du ' mal gemessen, ob an dem Poti eine Spannung anliegt ?
Das " kalte Ende " liegt ja auf Masse und vor dem Eingang ist ein 5 nF Kondensator, auch der Abgriff ist abgeblockt. Also dürftest du an KEINEM Anschluß eine Gleichspannung messen . Auf der anderen Seite des 5 nF liegt die Anodenspannung an.
Potis können dann sterben, wenn der Kondensator zum Eingang defekt ist, dann werden sie regelrecht verbraten.
Nur Mut, bei diesen alten Potis gab es allenfalls Probleme mit dem Netzschalter.
Rainer
Aus dem Radio steigt der Rauch - Soll er auch.
-
Hannes Pahl
- Mitglied

- Beiträge: 36
- Registriert: 26.12.2016, 17:13
Re: SK2b - Lautstärke Regelung
Guten Morgen,
Unglaublich wie schnell und engagiert man hier von euch fachkundigen Rat bekommt. Vielen Dank!
Ich habe nun mit den Kriterien 1M Ohm, logarithmisch, Schalter tatsächlich nur einen passenden Poti gefunden. Die Achse ist aus Kunststoff und nicht geriffelt, aber das würde man schon irgendwie hinbekommen.
Ich hänge unten mal die technischen Daten an. Wäre das grundsätzlich ein adequate Ersatz?
Ich bin leider elektronisch ein absoluter Laie, ich traue mir maximal zu das Bauteil strikt nach der Bestandssituation zu tauschen und einzulösen. Ich nehme an der Teerie/Kondensator würde erhalten bleibe und ist nicht Teil der alten Poti Funktion?
Beste Grüße und ein schönes Wochenende!
Hannes

Unglaublich wie schnell und engagiert man hier von euch fachkundigen Rat bekommt. Vielen Dank!
Ich habe nun mit den Kriterien 1M Ohm, logarithmisch, Schalter tatsächlich nur einen passenden Poti gefunden. Die Achse ist aus Kunststoff und nicht geriffelt, aber das würde man schon irgendwie hinbekommen.
Ich hänge unten mal die technischen Daten an. Wäre das grundsätzlich ein adequate Ersatz?
Ich bin leider elektronisch ein absoluter Laie, ich traue mir maximal zu das Bauteil strikt nach der Bestandssituation zu tauschen und einzulösen. Ich nehme an der Teerie/Kondensator würde erhalten bleibe und ist nicht Teil der alten Poti Funktion?
Beste Grüße und ein schönes Wochenende!
Hannes

Re: SK2b - Lautstärke Regelung
wenn du ein bauteil strikt nach anweisung tauschen kannst kannst diu auch die teeries wechseln
zudem das poti mal nackig messen.
was nutztz dir ein neureingefriemeltes plastepoti dass dir evtl wieder durchschmort...
sieh dich doch mal im netz um da hibt es haufenweise bilder zur reparatur der sk reihe
was nutztz dir ein neureingefriemeltes plastepoti dass dir evtl wieder durchschmort...
sieh dich doch mal im netz um da hibt es haufenweise bilder zur reparatur der sk reihe
frei nach k. ebstein: im leben geht manchmal was daneben.
-
Hannes Pahl
- Mitglied

- Beiträge: 36
- Registriert: 26.12.2016, 17:13
Re: SK2b - Lautstärke Regelung
Hallo Buggy,
Vielen Dank für deine Rückmeldung, ich werde versuchen mich bei den diversen Anleitungen einzulesen.
Auch wenn dem guten Stück nicht wirklich angemessen; der Poti, den ich gefunden habe würde von den Werten her schon passen, oder?
Ich habe das Gefühl, dass der integrierte Netzschalter den Geist aufgegeben hat.
Danke und einen schönen Sonntag!
Vielen Dank für deine Rückmeldung, ich werde versuchen mich bei den diversen Anleitungen einzulesen.
Auch wenn dem guten Stück nicht wirklich angemessen; der Poti, den ich gefunden habe würde von den Werten her schon passen, oder?
Ich habe das Gefühl, dass der integrierte Netzschalter den Geist aufgegeben hat.
Danke und einen schönen Sonntag!
-
Hannes Pahl
- Mitglied

- Beiträge: 36
- Registriert: 26.12.2016, 17:13
Re: SK2b - Lautstärke Regelung
Es tut mir leid, dass ich noch einmal nachfrage, aber kann mir vielleicht jemand anders die Werte des Potis, den ich oben vorgeschlagen habe, bestätigen?
Vielen Dank!
Hannes
Vielen Dank!
Hannes
- Rainer Hebermehl
- Lautsprecher-Profi

- Beiträge: 1236
- Registriert: 29.06.2009, 13:55
- Wohnort: Ronneburg
Re: SK2b - Lautstärke Regelung
Hallo Hannes,
es ist "völlig Wurst" , ob die Potis 1,3 1,0 oder 750K haben. 500 K hat einen zu kleinen Regelbereich. Ideal ist auch die logarithmische ( Rita lock mich ) Ausführung. Zur not tut's auch linear.
Schönen Gruß
Rainer
es ist "völlig Wurst" , ob die Potis 1,3 1,0 oder 750K haben. 500 K hat einen zu kleinen Regelbereich. Ideal ist auch die logarithmische ( Rita lock mich ) Ausführung. Zur not tut's auch linear.
Schönen Gruß
Rainer
Aus dem Radio steigt der Rauch - Soll er auch.
-
Hannes Pahl
- Mitglied

- Beiträge: 36
- Registriert: 26.12.2016, 17:13
Re: SK2b - Lautstärke Regelung
Vielen Dank Rainer!
-
Hannes Pahl
- Mitglied

- Beiträge: 36
- Registriert: 26.12.2016, 17:13
Re: SK2b - Lautstärke Regelung
Hallo Rainer,
Ich werde jetzt den Poti gegen den oben beschriebenen (1M Ohm, logarithmisch) tauschen. In diesem Zusammenhang möchte ich auch einige Kondensatoren tauschen, bei denen ich keinen Durchgang feststellen konnte.
Kannst du mir evtl. bei der Wahl der passenden neuen Kondensatoren helfen?
Falls dir sonst noch einfällt was ich prüfen oder auf Verdacht tauschen könnte wäre ich dir sehr dankbar. Ich bräuchte allerdings eine idiotensichere Anleitung wo genau ich was messen müsste.
Vielen Dank!
Kondensator A
Alt 500pF - 500V - 20%
Neu 470pF - 500V - 20%
Kondensator B
Alt 5000pF - 250/750V=
Neu 4700pF - 250V - 5%
Kondensator C - Durchgang festgestellt, aber trotzdem erneuern (Papier)
Alt 0,05uF - 250V-/150V~
Neu 1 0,047uF - 275V/AC - 10%
oder
Neu 2 0,047uF - 250V/DC - 20%

Ich werde jetzt den Poti gegen den oben beschriebenen (1M Ohm, logarithmisch) tauschen. In diesem Zusammenhang möchte ich auch einige Kondensatoren tauschen, bei denen ich keinen Durchgang feststellen konnte.
Kannst du mir evtl. bei der Wahl der passenden neuen Kondensatoren helfen?
Falls dir sonst noch einfällt was ich prüfen oder auf Verdacht tauschen könnte wäre ich dir sehr dankbar. Ich bräuchte allerdings eine idiotensichere Anleitung wo genau ich was messen müsste.
Vielen Dank!
Kondensator A
Alt 500pF - 500V - 20%
Neu 470pF - 500V - 20%
Kondensator B
Alt 5000pF - 250/750V=
Neu 4700pF - 250V - 5%
Kondensator C - Durchgang festgestellt, aber trotzdem erneuern (Papier)
Alt 0,05uF - 250V-/150V~
Neu 1 0,047uF - 275V/AC - 10%
oder
Neu 2 0,047uF - 250V/DC - 20%

- Rainer Hebermehl
- Lautsprecher-Profi

- Beiträge: 1236
- Registriert: 29.06.2009, 13:55
- Wohnort: Ronneburg
Re: SK2b - Lautstärke Regelung
Herr Jesses,
wie und womit hast du denn die Kondensatoren gemessen ? Mit Ohmmeter ?
Gruß
Rainer
wie und womit hast du denn die Kondensatoren gemessen ? Mit Ohmmeter ?
Gruß
Rainer
Aus dem Radio steigt der Rauch - Soll er auch.
-
schoenesradio
- Neuling

- Beiträge: 1
- Registriert: 07.05.2020, 16:14
Re: SK2b - Lautstärke Regelung
Hallo liebe Community,
dies ist mein erster Beitrag und gern möchte ich direkt mal in diese Diskussion mit einsteigen.
Über eBay habe ich ein SK2 erstanden und habe genau das gleiche Problem wie Hannes: beim Einschalten ist das Radio selbst auf der niedrigsten Position sehr laut, was ein Radiohören am frühen Morgen unmöglich macht.
Ich habe keinerlei Erfahrung mit dem Lesen eines Schaltplans oder Messen von Widerständen - wie wäre eure erste Herangehensweisen?

dies ist mein erster Beitrag und gern möchte ich direkt mal in diese Diskussion mit einsteigen.
Über eBay habe ich ein SK2 erstanden und habe genau das gleiche Problem wie Hannes: beim Einschalten ist das Radio selbst auf der niedrigsten Position sehr laut, was ein Radiohören am frühen Morgen unmöglich macht.
Ich habe keinerlei Erfahrung mit dem Lesen eines Schaltplans oder Messen von Widerständen - wie wäre eure erste Herangehensweisen?

Zuletzt geändert von schoenesradio am 25.05.2020, 21:14, insgesamt 1-mal geändert.
- Paparierer
- Moderator

- Beiträge: 2797
- Registriert: 28.12.2010, 15:36
- Wohnort: 85077 Manching
Re: SK2b - Lautstärke Regelung
Hallo Namenloser, und willkommen im Forum.
Wir sprechen uns hier mit Vornamen an; da wäre es schön, wenn Du uns Deinen nennst bzw. sagst, wie Du angesprochen werden willst.
zu Deinem Problem:
Wenn man weder Erfahrung noch Kenntnis davon hat, wie ein Schaltplan zu lesen oder Bauteile zu messen sind...
...dann sollte man das Gerät in erfahrene Hände geben.
- ist nur meine private Meinung, ohne Anspruch auf allgemeine Gültigkeit -
dazu - und entschuldige bitte, wenn das jetzt hart daher kommt - ist genaues Lesen hilfreich:
Es fängt schon damit an, dass das Problem bei seinem Gerät NICHT Rainer hat, sondern Hannes!
und wo ich schon dabei bin, Fahrt aufzunehmen:
Lieber Hannes, ein Kondensator sollte keinen(!) Durchgang haben!
Bevor Du weiter arbeitest, stelle bitte sicher, dass Du den Netzstecker gezogen hast.
Für Euch beide an dieser Stelle noch einmal - nicht verhandelbar - Grundsätzliches - nämlich den Sicherheitshinweis dieses Forums:
Sicherheitshinweis:
Die in diesem Forum dargestellten Reparatur-, Restaurierungs- und Umbaubeschreibungen stellen ausdrücklich keine für den Laien geeigneten Schritt-für-Schritt-Anleitungen dar.
Sie dienen lediglich als Anregungen für den fachlich versierten Leser.
Reparaturhilfen, die in einem Forum naturgemäß nur gegeben werden können, ohne das betreffende Gerät vor sich zu haben, sind lediglich als Hinweis zu verstehen.
Weder der Hinweisgeber, noch der / die Forumsbetreiber übernehmen eine Garantie oder Gewährleistung für deren Richtigkeit.
Es sei hier nochmals ausdrücklich darauf hingewiesen, dass Arbeiten an Geräten mit Spannungen größer als 42V nur durch entsprechend qualifiziertes Fachpersonal ausgeführt werden dürfen.
Insofern ist jegliche Haftung des / der Forumsbetreiber für Sach- oder Personenschäden, die sich aus der Nutzung von Informationen ergeben, die diesem Forum entnommen wurden, ausgeschlossen.
"Idiotensichere Anleitungen" sind durch diesen Sicherheitshinweis ausgeschlossen.
Bitte, vielleicht ist Euch bei Euren Geräten mit dem nächsten in Eurer Nähe stattfindenden Repair Café besser gedient, wo ihr entweder zuschauen oder selbst unter Anleitung versuchen könnt, das Radio wieder zum Laufen zu bringen.
Nix für ungut
Gereon
Wir sprechen uns hier mit Vornamen an; da wäre es schön, wenn Du uns Deinen nennst bzw. sagst, wie Du angesprochen werden willst.
zu Deinem Problem:
Wenn man weder Erfahrung noch Kenntnis davon hat, wie ein Schaltplan zu lesen oder Bauteile zu messen sind...
...dann sollte man das Gerät in erfahrene Hände geben.
- ist nur meine private Meinung, ohne Anspruch auf allgemeine Gültigkeit -
dazu - und entschuldige bitte, wenn das jetzt hart daher kommt - ist genaues Lesen hilfreich:
Es fängt schon damit an, dass das Problem bei seinem Gerät NICHT Rainer hat, sondern Hannes!
und wo ich schon dabei bin, Fahrt aufzunehmen:
Lieber Hannes, ein Kondensator sollte keinen(!) Durchgang haben!
Bevor Du weiter arbeitest, stelle bitte sicher, dass Du den Netzstecker gezogen hast.
Für Euch beide an dieser Stelle noch einmal - nicht verhandelbar - Grundsätzliches - nämlich den Sicherheitshinweis dieses Forums:
Sicherheitshinweis:
Die in diesem Forum dargestellten Reparatur-, Restaurierungs- und Umbaubeschreibungen stellen ausdrücklich keine für den Laien geeigneten Schritt-für-Schritt-Anleitungen dar.
Sie dienen lediglich als Anregungen für den fachlich versierten Leser.
Reparaturhilfen, die in einem Forum naturgemäß nur gegeben werden können, ohne das betreffende Gerät vor sich zu haben, sind lediglich als Hinweis zu verstehen.
Weder der Hinweisgeber, noch der / die Forumsbetreiber übernehmen eine Garantie oder Gewährleistung für deren Richtigkeit.
Es sei hier nochmals ausdrücklich darauf hingewiesen, dass Arbeiten an Geräten mit Spannungen größer als 42V nur durch entsprechend qualifiziertes Fachpersonal ausgeführt werden dürfen.
Insofern ist jegliche Haftung des / der Forumsbetreiber für Sach- oder Personenschäden, die sich aus der Nutzung von Informationen ergeben, die diesem Forum entnommen wurden, ausgeschlossen.
"Idiotensichere Anleitungen" sind durch diesen Sicherheitshinweis ausgeschlossen.
Bitte, vielleicht ist Euch bei Euren Geräten mit dem nächsten in Eurer Nähe stattfindenden Repair Café besser gedient, wo ihr entweder zuschauen oder selbst unter Anleitung versuchen könnt, das Radio wieder zum Laufen zu bringen.
Nix für ungut
Gereon
_______________________________
meistens ist es was mechanisches...
_______________________________
„Audiophile verwenden ihre Geräte nicht, um Ihre Musik zu hören.
Audiophile verwenden Ihre Musik, um ihre Geräte zu hören.“
Alan Parsons
meistens ist es was mechanisches...
_______________________________
„Audiophile verwenden ihre Geräte nicht, um Ihre Musik zu hören.
Audiophile verwenden Ihre Musik, um ihre Geräte zu hören.“
Alan Parsons
-
Hannes Pahl
- Mitglied

- Beiträge: 36
- Registriert: 26.12.2016, 17:13
Re: SK2b - Lautstärke Regelung
Lieber Gereon,
Ich würde nie auf die Idee kommen, irgendeines von den hilfreichen Forenmitgliedern für eine eventuell falsche, oder falsch ausgeführte Hilfestellung verantwortlich zu machen. Und ja, ich habe den Netzstecker gezogen. Anscheinend habe ich mit ‘Durchgang’ den falschen Begriff gewählt. Leider gibt es hier in meiner Nähe kein Repaircafe. Ich versuche mir daher mit eurer Hilfe selbst zu helfen. Leider fehlt mir jedoch die Zeit mir allzu tiefe Kenntnisse in der Elektrotechnik anzueignen.
Lieber Rainer,
Ja, ich habe mit meinem rudimentären Multimeter die Kondensatoren im eingebauten Zustand auf Ohm gemessen. Bei A und B gab es keinerlei Ausschlag, fälschlicher weise als kein Durchgang beschrieben. Bei C pendelt sich der Wert sehr schnell ein und bleibt dann stabil (den Wert habe ich jetzt leider nicht mehr im Kopf). Beim tauschen der Messpunkte an diesem Kondensator bleibt der Endwert gleich.
Ich kann verstehen, wenn dir ob meiner Unkenntnis die Zeit und/oder Lust fehlt mir weiter zu helfen.
Trotzdem Danke soweit!
Hannes
Ich würde nie auf die Idee kommen, irgendeines von den hilfreichen Forenmitgliedern für eine eventuell falsche, oder falsch ausgeführte Hilfestellung verantwortlich zu machen. Und ja, ich habe den Netzstecker gezogen. Anscheinend habe ich mit ‘Durchgang’ den falschen Begriff gewählt. Leider gibt es hier in meiner Nähe kein Repaircafe. Ich versuche mir daher mit eurer Hilfe selbst zu helfen. Leider fehlt mir jedoch die Zeit mir allzu tiefe Kenntnisse in der Elektrotechnik anzueignen.
Lieber Rainer,
Ja, ich habe mit meinem rudimentären Multimeter die Kondensatoren im eingebauten Zustand auf Ohm gemessen. Bei A und B gab es keinerlei Ausschlag, fälschlicher weise als kein Durchgang beschrieben. Bei C pendelt sich der Wert sehr schnell ein und bleibt dann stabil (den Wert habe ich jetzt leider nicht mehr im Kopf). Beim tauschen der Messpunkte an diesem Kondensator bleibt der Endwert gleich.
Ich kann verstehen, wenn dir ob meiner Unkenntnis die Zeit und/oder Lust fehlt mir weiter zu helfen.
Trotzdem Danke soweit!
Hannes
- Paparierer
- Moderator

- Beiträge: 2797
- Registriert: 28.12.2010, 15:36
- Wohnort: 85077 Manching
Re: SK2b - Lautstärke Regelung
Hi Hannes,
ich denke, Rainers Frage ging dahin, wie Du die Kapazitäten der Kondensatoren gemessen hast.
(Möglicherweise hast Du den Aufdruck auf den Kondensatoren abgelesen und für den Ersatz den nächstgelegenen Wert genommen, damit es passt.)
Um einzelne Widerstände ohne umgebende Bauteile zu messen, musst Du [mindestens] ein Bein auslöten.
Um die Kapazität eines Kondensators zu messen gilt das Gleiche - allerdings kann ein normales Multimeter das nicht.
Wenn ein Kondensator Durchgang hat, ist er kaputt.
Ein Elektrolytkondensator hat einen Plus+ und einen Minus- Pol.
Verkehrt herum eingelötet kann viel kaputtgehen und/oder die ganze Schaltung funktioniert nicht. (Beispiel dazu mein Problem bei der AUDIO 300, wo der Platinenaufdruck nicht mit dem Schaltplan übereinstimmte...)
Nochmals meine Bitte, z.B. bei "juhu-tjup" sich etwas mehr Grundlagenwissen anzueignen.
Gruß, Gereon
P.S. Hast Du eigentlich Deinen CSV 300 fertig repariert bekommen oder fährst Du immer noch die "Zwischenlösung"?
ich denke, Rainers Frage ging dahin, wie Du die Kapazitäten der Kondensatoren gemessen hast.
(Möglicherweise hast Du den Aufdruck auf den Kondensatoren abgelesen und für den Ersatz den nächstgelegenen Wert genommen, damit es passt.)
Um einzelne Widerstände ohne umgebende Bauteile zu messen, musst Du [mindestens] ein Bein auslöten.
Um die Kapazität eines Kondensators zu messen gilt das Gleiche - allerdings kann ein normales Multimeter das nicht.
Wenn ein Kondensator Durchgang hat, ist er kaputt.
Ein Elektrolytkondensator hat einen Plus+ und einen Minus- Pol.
Verkehrt herum eingelötet kann viel kaputtgehen und/oder die ganze Schaltung funktioniert nicht. (Beispiel dazu mein Problem bei der AUDIO 300, wo der Platinenaufdruck nicht mit dem Schaltplan übereinstimmte...)
Nochmals meine Bitte, z.B. bei "juhu-tjup" sich etwas mehr Grundlagenwissen anzueignen.
Gruß, Gereon
P.S. Hast Du eigentlich Deinen CSV 300 fertig repariert bekommen oder fährst Du immer noch die "Zwischenlösung"?
_______________________________
meistens ist es was mechanisches...
_______________________________
„Audiophile verwenden ihre Geräte nicht, um Ihre Musik zu hören.
Audiophile verwenden Ihre Musik, um ihre Geräte zu hören.“
Alan Parsons
meistens ist es was mechanisches...
_______________________________
„Audiophile verwenden ihre Geräte nicht, um Ihre Musik zu hören.
Audiophile verwenden Ihre Musik, um ihre Geräte zu hören.“
Alan Parsons
-
Hannes Pahl
- Mitglied

- Beiträge: 36
- Registriert: 26.12.2016, 17:13
Re: SK2b - Lautstärke Regelung
Hallo Gereon/Rainer,
Die Werte, die ich unter ‚Alt‘ angegeben sind, habe ich von den zur Zeit verbauten Kondensatoren abgelesen. Ich bräuchte also in erster Linie eine Bestätigung, ob die neuen Werte, obwohl leicht abweichend, akzeptabel sind.
Beim CSV 300 habe ich die Elkos im Phono Vorverstärker erfolgreich getauscht. Beim Tuner Eingang muss ich aber leider immer noch deutlich runter regeln, aber das ist so erstmal ok.
Grüße
Hannes
Die Werte, die ich unter ‚Alt‘ angegeben sind, habe ich von den zur Zeit verbauten Kondensatoren abgelesen. Ich bräuchte also in erster Linie eine Bestätigung, ob die neuen Werte, obwohl leicht abweichend, akzeptabel sind.
Beim CSV 300 habe ich die Elkos im Phono Vorverstärker erfolgreich getauscht. Beim Tuner Eingang muss ich aber leider immer noch deutlich runter regeln, aber das ist so erstmal ok.
Grüße
Hannes
Re: SK2b - Lautstärke Regelung
moin mal im vorbeischnuppern....
a darf bleiben weil syroflexkondensator zumeist problemlos wechsel lieber noch die beiden teeries die da rechts oberhalb von a
ohne garantie auf vollständigkeit
schöne passenden folienkondensatoren gibts z.b. im atr shop
a darf bleiben weil syroflexkondensator zumeist problemlos wechsel lieber noch die beiden teeries die da rechts oberhalb von a
ohne garantie auf vollständigkeit
schöne passenden folienkondensatoren gibts z.b. im atr shop
frei nach k. ebstein: im leben geht manchmal was daneben.
